未来的 iPhone 以及其他苹果设备,可能会加入一套全新的呼气检测系统,让用户像做酒精测试一样,对着设备轻轻一呼,就能完成多种健康指标的初步筛查。
根据美国专利商标局最新公开的信息,苹果已获批一项名为“具备呼气感应系统的电子设备”的专利,技术适用于手机、Apple Watch,甚至汽车和公共终端等多种形态,但专利附图显示,iPhone 是最典型的应用载体之一。

苹果近年来对“呼吸”数据情有独钟,早前专利曾涉及在 Apple Vision Pro 中加入呼吸检测,以及通过呼吸模式改进睡眠追踪等功能。 此次新获批的专利,则进一步把呼气检测拓展为潜在的健康筛查工具,让用户无需前往医院或专业机构,在日常使用设备的过程中就能获取更多关于自身健康状况的线索。
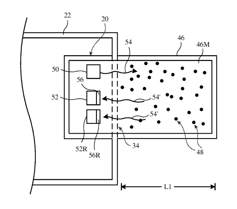
按照专利描述,这类设备机身上将设置一个与内部呼气传感器相连的“传感窗口”。 与传统酒精测试仪不同的是,该系统设计为“无吹嘴”形态,用户无需含住或对准任何管口,只需以自然距离拿起设备,正常呼气数秒,传感器即可采集足够数据。 专利同时指出,这一设计意味着,在苹果持续推动 iPhone“去接口化”的同时,设备外壳上可能反而会新增一个专门用于传感的开口。
在具体检测机制上,专利提出使用红外光源向用户呼出的气体发射光束,再由相应传感器检测光线穿过呼气中目标气体分子的变化。 这些被标记为“健康状况生物标志物”的分子,可对应包括糖尿病、高胆固醇在内的多种疾病或代谢异常,从而为设备提供筛查依据。 这些呼气数据随后将与预置数据库进行比对,一旦发现异常模式,系统就可以像 Apple Watch 现有心率、心电图等功能那样,向用户发出提醒,建议进一步就医检查。
依托 iPhone 等终端的多传感器融合能力,苹果还计划将可见光摄像头和红外深度摄像头纳入这一方案。 设备可以通过前置摄像头识别并测量用户面部与呼气传感窗口之间的距离,在必要时通过界面提示用户靠近,或自动调节内部“光束转向器”,确保红外光束准确对准用户嘴部区域。 这种软硬件协同不仅有助于提高检测精度,也为之后更多基于面部与呼吸数据的健康功能预留空间。
苹果 CEO Tim Cook早在 2019 年就曾表示,从更长远的视角回看,苹果“对人类的最大贡献”将来自健康领域。 从 Apple Watch 心电图、跌倒检测,到睡眠追踪,再到如今的呼气健康传感专利,苹果正试图把日常设备打造成个人健康监测平台,覆盖从心血管到代谢疾病在内的更多风险提示场景。 目前,这一呼气检测系统仍停留在专利阶段,最终是否以及何时会出现在市售产品上,苹果尚未给出时间表。